Poco tempo fa, Apple ha deciso di cambiare la tecnologia utilizzata sulle tastiere dei propri MacBook. Tutti gli ultimi MacBook del 2018 sono infatti equipaggiati con una nuova versione della Butterfly Keyboard che avrebbe risolto molti dei problemi rilevati da moltissimi utenti nel vecchio modello della Butterfly – in particolare polvere e briciole che si infilavano sotto i tasti. La tecnologia precisa rimane comunque un segreto aziendale.
[adrotate banner=”8″]
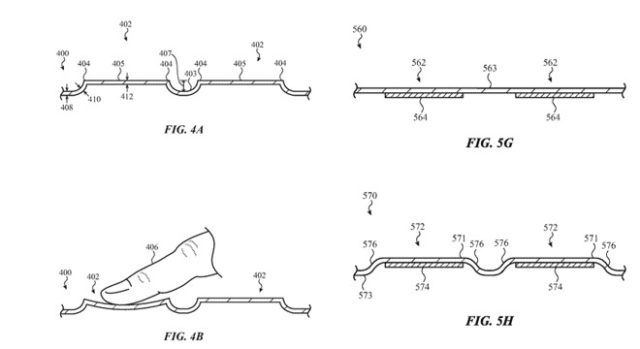
Per i prossimi modelli di MacBook, la compagnia californiana non avrebbe intenzione di tornare alle classiche tastiere a membrana. Al contrario, per risolvere i problemi ancora esistenti sull’ultimo modello, secondo un nuovo brevetto Apple starebbe lavorando ad una nuova keyboard con base in vetro. Stando a quanto si legge sul brevetto, la nuova tastiera sostituirebbe i classici tasti meccanici con uno strato sottile di vetro che dovrebbe replicare l’effetto tattile.
Alcuni di questi tasti avrebbero sezioni in rilievo. Quando una di queste sezioni viene premuta, la tastiera riconosce l’input e lo processa come se fosse un classico tasto. Al contrario di uno smartphone però, non si avrà un pannello di vetro omogeneo. Grazie a questi rilievi l’utente riesce a capire dove deve appoggiare il dito, rappresentando le lettere da premere.
Secondo un nuovo brevetto, Apple potrebbe introdurre una speciale tastiera touch sui nuovi modelli di MacBook che andrebbe a risolvere i problemi comparsi sui nuovi modelli

Inoltre, il carattere del tasto è presente ma sotto al pannello in vetro, permettendo quindi di poterlo cambiare, un po’ come funziona per Apple TouchBar. In certe situazioni, la tastiera potrebbe diventare un’estensione del touchpad del MacBook. Insomma, una soluzione davvero intelligente su carta, che però è tutt’altro che certa e necessita di un serio sviluppo per sostituire completamente la classica tastiera.
In ogni caso, questa nuova tastiera dovrebbe risolvere i problemi comparsi dopo l’introduzione della Butterfly Keyboard sui nuovi MacBook: la versione del 2018 introduce una membrana in silicone che protegge i tasti da briciole e polvere che risolve in parte i problemi, ma molti utenti continuano a lamentare inconsistenze. L’eliminazione dei tasti fisici potrebbe essere la soluzione definitiva. Resta da vedere se il feeling è effettivamente piacevole.
Ovviamente, in questo caso si tratta solo di un brevetto depositato che potrebbe non venire mai effettivamente sfruttato. Non resta che attendere nuove informazioni o l’annuncio ufficiale.











